刚刚公布!山西确定10座煤矿 50个智能综采工作面建设试点

2020年03月05日10:27
来源:山西省工信厅
分享到:
关于公布山西省智能煤矿和智能综采工作面建设试点的通知
各市工信局、应急局、国资委、能源局、煤监分局:
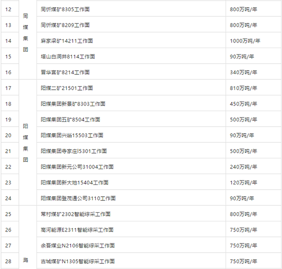
为贯彻落实中央及省委、省政府关于开展能源革命综合改革试点、打造全国能源革命排头兵的决策部署,全面加快智能煤矿建设步伐,提升我省煤矿智能化水平,推进煤炭产业转型升级高质量发展,省工业和信息化厅、省应急管理厅、省国有资产监督管理委员会、省能源局、山西煤矿安全监察局五部门联合开展了我省智能煤矿和智能综采工作面建设试点征集工作,确定山西焦煤岚县正利煤业有限责任公司等10座煤矿为山西省智能煤矿建设试点,山西焦煤集团岚县正利煤业有限公司14-1106工作面等50个智能综采工作面为山西省智能综采工作面建设试点,现予以公布。
各市工信局、应急局、国资委、能源局、煤监分局,要坚持“四为四高两同步”总体思路和要求,加快煤炭企业“数字化、网络化、智能化”推进步伐,加强统筹协调、研究产业政策,复制推广建设试点的经验模式。各建设试点要采取积极措施,加大工作力度,尽早建成智能煤矿和智能综采工作面,示范带动煤炭产业链整体质量效益的提升。
特此通知。
附件:
1.山西省智能煤矿建设试点名单
2.山西省智能综采工作面建设试点名单
山西省工业和信息化厅
山西省应急管理厅
山西省人民政府国有资产监督管理委员会
山西省能源局
山西煤矿安全监察局
2020年2月28日
矿宝网现推出会员尊享服务的功能,加入后可上传、推广自己的产品,进而对自己的产品曝光率更大。想加入只需点击下方链接。
责任编辑:安爱
|推荐图文|
随时随地查看资讯
热门资讯
视频新闻
点击排行
免费咨询热线:0351-8363101

